合作客戶/
拜耳公司 |
同濟大學 |
聯合大學 |
美國保潔 |
美國強生 |
瑞士羅氏 |
相關新聞Info
-
> 便攜式自動表面張力儀主要產品特征
> 3種常見醇類燃料甲醇、乙醇、正丁醇噴霧特性與表面張力的關系(二)
> 不同助劑及濃度對IDK120-025型和LU120-015型噴頭霧化效果的影響(四)
> 表面張力為25%乙醇溶液作為球磨溶劑,制備MG超細粉替代天然橡膠補強劑
> 不同溫度下可溶解聚乙二醇低共熔溶劑的密度、電導率、表面張力等性質(一)
> 配制淡紅色噴印墨水時,如何測量其表面張力
> 利用氣體分析儀、超微量天平等研究DOC和DPF對柴油機排放性能影響
> 不同溫度下水波波速和表面張力系數的關系與計算方法【實驗】(二)
> 射頻等離子分離提純的高成本高,如何解決
> 植物笛醇含量對油水界面張力的影響
推薦新聞Info
-
> 反離子鹽KBr濃度對酰胺基陽離子Gemini表面活性劑的表/界面活性的影響(二)
> 反離子鹽KBr濃度對酰胺基陽離子Gemini表面活性劑的表/界面活性的影響(一)
> 典型離子型與非離子型起泡劑的界面行為對泡沫性能的影響機制
> 新無氰白銅錫電鍍液及電鍍方法可降低表面張力,促進鍍液對復雜工件的潤濕
> 一種耐超高溫酸液體系、制備方法及其應用
> 納米滲吸驅油劑種類、降低界面張力和改變潤濕性的能力等機理研究(四)
> 復合驅中聚合物與陰離子表面活性劑的協同作用研究
> 化學組成對無堿鋁硼硅OLED基板玻璃表面張力的影響——結果、結論
> 化學組成對無堿鋁硼硅OLED基板玻璃表面張力的影響——摘要、實驗方法
> 納米滲吸驅油劑種類、降低界面張力和改變潤濕性的能力等機理研究(三)
打破試劑溶液的表面張力,提升乳糖醇制備的攪拌混合效果
來源:山東健奕宏生物制藥有限公司 瀏覽 1253 次 發布時間:2024-01-29
乳糖醇是12碳糖醇,可由乳糖經觸媒氫化制得,有無水型和含有一個結合水的兩種產品,甜味爽口,常與高甜度甜味劑結合使用,無后味,吸濕性低,溶解度高,其相對分子質量與蔗糖相似,對水分活度的影響也與蔗糖相似,在酸性及堿性條件下均穩定,在食品加工的高溫條件下也十分穩定。乳糖醇適用于許多食品,例如烘焙食品、涂糖衣的糖果以及冷凍含乳甜食等。
乳糖醇的制備工藝,主要工藝過程將乳糖配成溶液導入至筒體1內,調pH7.0~8.0,加入固形物質量5~10%的雷尼鎳催化劑,經過2.0~3.0h的氫化反應后得到氫化液,氫化反應的最高溫度125~140℃,經過活性炭脫色、滿室床離子交換后得到凈化液,再經過濃縮、結晶、離心和烘干后得到結晶乳糖醇。
現有的乳糖醇生產用凈化裝置(公開號:CN219356032U)至少有以下弊端:上述專利使混合組件在進行轉動時可以進行上下往復滑動,使得混合組件可以對筒體內的乳糖溶液和雷尼鎳催化劑進行充分的混合;由于單純靠帶動混合組件上下移動對試劑溶液進行攪拌,難以打破試劑溶液的表面張力,促進多種試劑的混合,影響乳糖醇制備的攪拌混合效果。
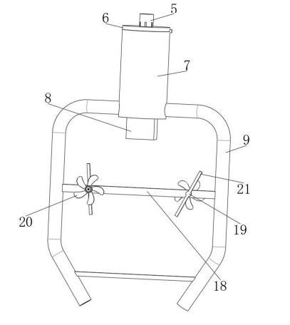
步驟一:通過進料管將試劑溶液注入混料桶內,通過驅動電機驅動傳動軸轉動,使傳動軸通過連接組件帶動連接盤與活塞筒轉動,使活塞筒底端安裝的兩根出液管能夠隨之在混料桶內轉動,使兩根出液管與多根加強桿能夠充當攪拌棒對試劑溶液進行混合攪拌;
步驟二:在連接盤帶動活塞筒轉動的同時,固定安裝于連接盤外周的導柱將沿套管內側開設的導槽滑動,使導柱能夠通過連接盤帶動活塞筒相對活塞墊上下移動做往復活塞運動,使活塞筒在向下移動時,其底部的進液口打開,混料桶內不同深度的試劑溶液被吸入活塞筒內,在活塞筒向上移動時,其底部的進液口關閉,相對固定位置的活塞墊將把活塞筒內吸入的試劑溶液通過兩根出液管擠出,使兩根出液管出液端排出的試劑溶液能夠相互對沖碰撞;
步驟三:在兩根出液管帶動加強桿轉動的同時將帶動渦輪葉片轉動,使轉動的渦輪葉片能夠通過轉軸帶動攪拌桿轉動,使攪拌桿對混料桶內的試劑溶液進行橫向攪拌混合,提高混合效果。
在連接盤帶動活塞筒轉動的同時,固定安裝于連接盤外周的導柱將沿套管內側開設的導槽滑動,使導柱能夠通過連接盤帶動活塞筒相對活塞墊上下移動做往復活塞運動,使活塞墊將活塞筒內吸入的試劑溶液通過兩根出液管擠出,使兩根出液管出液端排出的試劑溶液能夠相互對沖碰撞,可以打破試劑溶液的表面張力,促進多種試劑的混合,減少局部濃度差異,提高混合均勻性,并且能夠對混料桶內的試劑溶液進行攪動,能夠有效的提高試劑溶液的混合效果;在活塞筒帶動出液管轉動的同時還能夠上下移動,使出液管能夠對混料桶內不同深度的試劑溶液進行均勻攪拌。





